上海机制电价结果:统一竞价,0.4155元/千瓦时,迄今最高!
光伏产业网讯
发布日期:2025-11-25
核心提示:
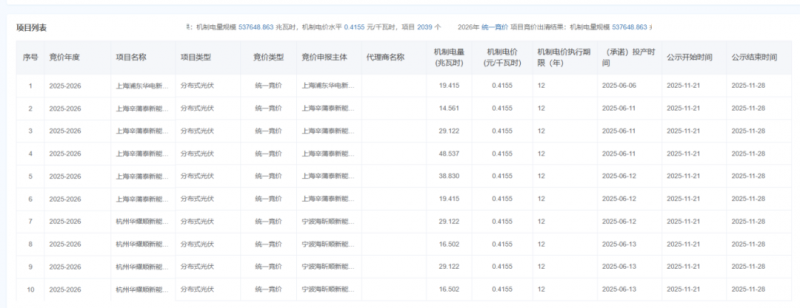
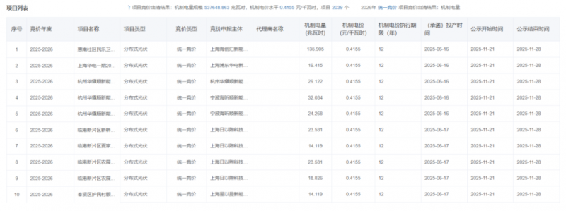
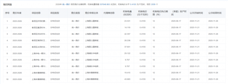
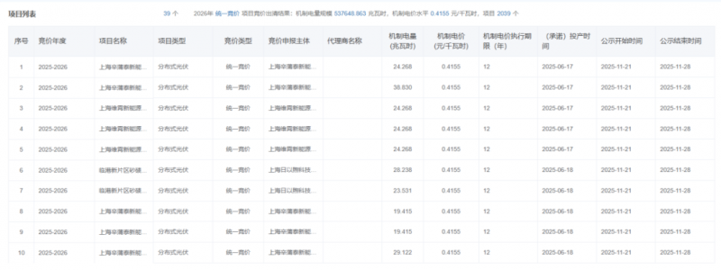
11月24日,上海2025-2026年新能源增量项目机制电价竞价结果公示。根据公示,本批次为统一竞价,机制电量规模为5.3765亿千瓦时,
11月24日,上海2025-2026年新能源增量项目机制电价竞价结果公示。



根据公示,本批次为统一竞价,机制电量规模为5.3765亿千瓦时,机制电价水平0.4155元/千瓦时,项目2039个。
值得一提的是,本次公示结果与上海的煤电基准价(0.4155元/千瓦时)相同,也是目前为止全国增量机制最高出清价格。
10月9日,关于组织开展上海市2025年度新能源增量项目机制电价竞价的公告公布。
本批次竞价申报主体为2025年6月1日(含)-2026年12月31日(含)全容量并网且未纳入过机制电价执行范围的新能源项目,含集中式光伏、集中式风电、分布式光伏、分散式风电、生物质发电等,不含深远海风电等成本差异较大的项目、已通过竞争性配置形成价格的特殊新能源项目。
本市对集中式光伏、集中式风电、分布式光伏、分散式风电、生物质发电等各类参与主体原则上进行统一竞价。经成本调查确认,与一般类型项目相比平均成本差异较大的项目,可单独组织竞价。
部分项目见下:








